香蕉影视网站APP,香蕉电影网在线观看,国产香蕉视频黄色,成人香蕉网站入口
在線留言
廣東香蕉电影网在线观看時科技有限公司
GUANGDONG THREENH TECHNOLOGY CO.,LTD.
微信谘詢
400-888-5135
3nh@3nh.com
首頁
產品中心
顏色檢測
分光測色儀
分光香蕉影视网站APP
香蕉影视网站APP
密度儀
色差寶
色卡
配件
配色軟件
光學檢測
高光譜相機
高光譜成像儀
顯微高光譜成像係統
外觀檢測
霧度計/透光率儀
光澤度儀
塗層測厚儀
反射率測定儀/白度儀
影像檢測
圖像測試光源設備
圖像測試軟件
標準光源
標準光源對色燈箱
標準光源燈管
智能測量
在線測量
表麵智能測量
新聞動態
儀器百科
行業應用
什麽是顯色指數?顯色指數的概念
煙葉分級用哪種燈具?認準符合YC/T 291-2009標準的煙葉分級燈具
香蕉电影网在线观看時TS7係列立式配件的作用和使用教程
色粉(粉末塗料)色差標準有哪些?
祛斑美白化妝品效果評估——皮膚個體類型角ITA°值的測量方法
交通路標顏色怎麽測?YS4580交通路標香蕉影视网站APP的測量方法和教程
行業應用
用戶服務
定製服務
常見問題
用戶服務
下載專區
視頻中心
龍年行大運,香蕉电影网在线观看時開工大吉!
深耕顏色領域 凝聚發展之魂 | 香蕉电影网在线观看時新展廳正式建成啟用
YS6060台式分光測色儀測量透明或不透明樣品操作視頻
CR9+色差寶測量軟矽膠的顏色
台式分光測色儀操作視頻
台式色彩霧度儀操作視頻
視頻中心
聯係香蕉影视网站APP
關於香蕉影视网站APP
留言反饋
聯係香蕉影视网站APP
工作原理
新聞動態
儀器百科
行業應用
視頻中心
主頁
> 標簽 > 工作原理
香蕉影视网站APP的工作原理和測量方法
2023-12-04
香蕉影视网站APP是一種用於測量物體顏色差異的儀器,它通過測量物體表麵反射或透射的光的特性來確定顏色差異的程度。本文簡單介紹了香蕉影视网站APP的工作原理和測量方法。
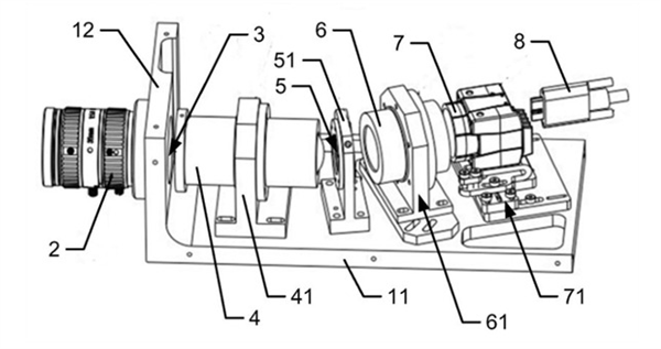
光柵式高光譜成像儀的結構構成和工作原理
2023-10-13
高光譜成像儀運用了麵陣探測器與光柵分光係統的技術,它的性能得到了極大的提升,應用也更為廣泛。本文主要介紹了光柵式高光譜成像儀的結構構成和工作原理。
微信在線谘詢
產品中心
關於香蕉影视网站APP
下載專區
留言反饋
總部地址:廣州市增城區低碳總部園智能製造中心B33棟6層
辦事處:上海、北京、江蘇、浙江、福建、河北、山東…
Copyright © 2025 廣東香蕉电影网在线观看時科技有限公司 版權所有 ©
粵ICP備2021161340號
服務熱線:
400-888-5135
郵箱 : 3nh@3nh.com
在線客服
客服一
客服二
聯係方式
400-888-5135
3nh@3nh.com
網站地圖